只监视变压器油温是错误的
2023-08-01 星空(中国)一站式服务平台
弄懂变压器的油温与绕组温度
2023-04-28 星空(中国)一站式服务平台
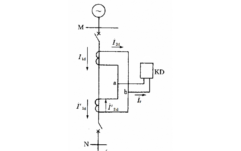
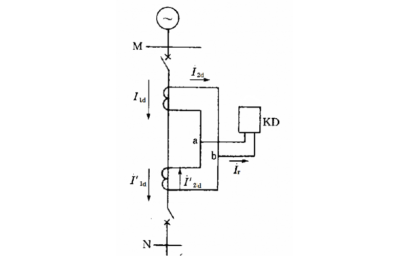
核电站出现变压器励磁涌流会有什么影响?
电力变压器的保护配置知识分享
2023-04-20 星空(中国)一站式服务平台
电力变压器的保护配置
2023-03-27 星空(中国)一站式服务平台
电力远动箱式变电站技术规格书(箱式变电站试验项目)
2023-03-21 星空(中国)一站式服务平台
怎样确定变压器电压等级?
2023-02-15 星空(中国)一站式服务平台
美标开关柜关于净距
2023-01-03 星空(中国)一站式服务平台