行业知识

KWZK-BYQ系列变压器温控器知识介绍

2022-12-14 08:31:35 星空(中国)一站式服务平台

KWZK-BYQ系列变压器温控器知识介绍

变压器内的油温、绕组温度影响绝缘材料的性能、寿命,从而影响变压器的寿命,甚至直接导致故障,因此,监测变压器内部实时温度很有必要。根据测温原理,温度计的类型有三种:1、水银温度计;2压力温度计;3铂电阻温度计。


测出的温度如何使用:1、送出至本体表计,通过指针实时显示;2、通过表计的辅助接点控制冷却器、发报警信号等;3、模拟量送出至测控装置,在监控后台显示温度。运检人员根据厂家使用说明书、规程对温度异常情形做出相应处理。


大型变压器内部高压、强磁场,普遍采用原理“2压力温度计”。变压器的温控器有两种,油面温控器和绕组温控器,其原理、结构在一个地方有差异。直接介绍绕组温控器。


先来认识一下外形,找了个黑乎乎的图,如果把背景P成白色就好了。

图片关键词

1、下方金属管件为底座,温包放置在底座内部,温包内是感温介质,受热会膨胀

图片关键词

这变压器上方插入油中,深度150mm左右,

2、后面卷成数匝的是弹簧软管,弹簧软管内是毛细管,毛细管传递膨胀介质到表计。

图片关键词

膨胀介质驱动弹性元件,通过传动机构带动指针,上方表盘上白色的指针显示实时温度。

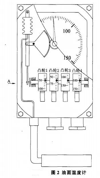
3、表盘上还有一些信息:红色指针和红蓝绿黄四色指示块。

a. 当温度升高,白色指针转到红色指针位置时,再向右转动,会带动它一起向右,温度降低,红色不会跟着返回,所以红色记录白色到过的最大位置。

b. 四色指针对应了四组常开(常闭)辅助接点,对应的温度值就是该辅助接点动作值。

图片关键词

图片关键词

辅助接点的功能用户选择,大概是:K1. 冷却器返回温度;K2.冷却器启动温度;K3.温度高报警;K4温度高跳闸。

现在新的表计大多有6组辅助接点,K5灰色,K6紫色,根据需要使用或备用。

可是上面测出来的还是油温,和绕组没有关系啊。对了,绕组那个位置是温度计无法接近的,所以做了一个变通,也就是绕组温控器和油面温控仪不一样的地方。

图片关键词

只是个原理示意图,左边变压器的绕组怎么接不管它了,这里1、4、5是特别之处。简单说原理就是把负荷电流这个145这个回路折算成铜温升,叠加油温后成为绕组温度。

1是高压侧套管CT次级线圈,输出的电流根据某个方法,通过5变流器折算成一个适合的电流(因为不同厂家变比等二次电流不一样,所以要变流折算),折算后的电流通过4电热元件产生的热量驱动弹性元件位移增大,指示的温度也增大,从而反映绕组温度。

这里还有一种热模拟方法,CT二次电流折算后去加热温包,

图片关键词












首页
产品
新闻
联系